iQ700 קולט אדים על קיר 90 cm , שחורLC91KLT60
LC91KLT60
Home Connect
1 / 0












iQ700 קולט אדים על קיר 90 cm , שחורLC91KLT60
LC91KLT60
אפליקציית Home Connect
מוצר זה ניתן לשליטה ולביצוע פעולות מרחוק באמצעות אפליקציית Home Connect
תוצרת גרמניה
מוצר זה יוצר בגרמניה
iQ700 קולט אדים על קיר 90 cm , שחורLC91KLT60
LC91KLT60
אפליקציית Home Connect
מוצר זה ניתן לשליטה ולביצוע פעולות מרחוק באמצעות אפליקציית Home Connect
תוצרת גרמניה
מוצר זה יוצר בגרמניה
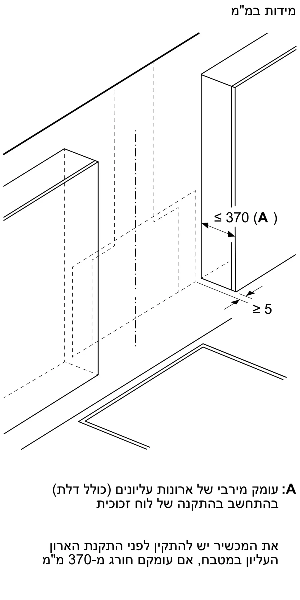
סקירה טכנית
סוג התקנה
צמוד קיר
רוחב
90 ס"מ
cookConnect מערכת
כן
climateControl sensor
כן
סחרור אוויר
נפתח
שאיבת אוויר תפוקה מקסימלית
441 מ"ק/שעה
יניקת אוויר, מצב Boost (מאיץ)
1007 מ"ק/שעה