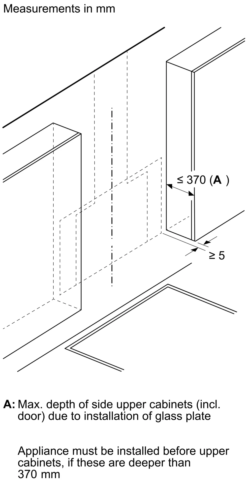
iQ700 Вытяжка для настенного монтажа 90 cm Прозрачное стекло с принтом черного цвета , ЧерныйLC91KLT65
LC91KLT65
Новый
iQ700 Вытяжка для настенного монтажа 90 cm Прозрачное стекло с принтом черного цвета , ЧерныйLC91KLT65
LC91KLT65
Найти местного дилера
Найти местного дилера в вашем районе
iQ700 Вытяжка для настенного монтажа 90 cm Прозрачное стекло с принтом черного цвета , ЧерныйLC91KLT65
LC91KLT65
Найти местного дилера
Найти местного дилера в вашем районе
Технический обзор
Цвет тела
Черный
Материал корпуса
Стакан, Лакированный
Встраиваемый / отдельно стоящий прибор
Встраиваемый
Количество настроек скорости
3 степени + 2 интенсивных режима
Максимальная мощность отвода воздуха
441 m³/h
Режим усиления отвода воздуха
1007 m³/h
Звуковая мощность на максимальной скорости (2010/30/EC)
51 дБ
Ширина прибора
90 cm













